玻璃幕墻結(jié)構(gòu)【中東幕墻】
玻璃幕墻這是目前采用較多的一種建筑裝飾,相信大家對玻璃幕墻也是很熟悉,但是說到玻璃幕墻結(jié)構(gòu)可能就有很多人不知道,那么今天小編就給大家講解一下玻璃幕墻結(jié)構(gòu)
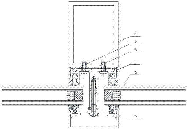
玻璃幕墻的組成。是由骨架、玻璃和附件三部分組成的。
(1)骨架:由縱向立柱和橫檔組成,它是用來支撐玻璃、固定玻璃,并通過連接件與墻體結(jié)構(gòu)相連。它將玻璃的自重和風荷載及其他荷載傳給主體結(jié)構(gòu),使玻璃與墻體結(jié)構(gòu)連成一整體。
(2)玻璃:玻璃是幕墻的面料,它既是建筑圍護構(gòu)件,又是建筑裝飾面,局部還兼起玻璃窗的作用。
(3)附件(連接與安裝配件):玻璃墻的主要附件有膨脹螺栓,鋁拉釘、射釘、密封條材料及連接件。
本文由深圳中東幕墻官網(wǎng)提供,中東幕墻專注安全、防水美觀的幕墻工程-整體工程設計、定制、施工全案服務,讓幕墻提升樓宇價值,中東幕墻工程服務熱線:版權(quán)所有:http://m.kyaccountant.com/轉(zhuǎn)載請注明出處!



手機網(wǎng)站入口
直通項目總監(jiān)咨詢
項目總監(jiān)名片